米哈游贸易版图盘货 米哈游已投资国内多家企业 米哈游2022年营收273.4亿元 ...

新闻直播 新闻直播 902 人阅读 | 0 人回复

本题目:米哈游商业邦畿盘点 米哈游已投资海内多家企业 米哈游2022年营支273.4亿元

据媒体报导,上海米哈游收集科技股分有限公司2022年全年主营业务支出273.40亿元,净利润161.45亿元,截至2022年末,净资产已达374.02亿元。

天眼查App表示,上海米哈游收集科技股分有限公司成立于2012年2月,注册资本约3.34亿群众币,法定代表人、董事少为蔡浩宇,由蔡浩宇、刘伟、罗宇皓、杭州米艺投资有限公司配合持股。

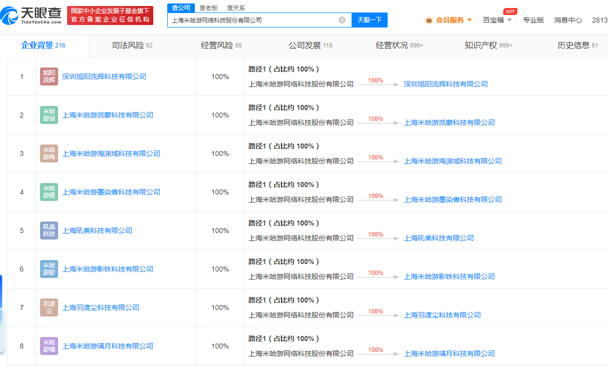
对中投资疑息表示,该公司持股公司有十余家,其中大都为存绝形态,包含上海米哈游天命科技有限公司、上海米哈游姬米花科技有限公司、上海米哈游阿我戈科技有限公司等。经由过程间接或直接持股,米哈游具有70余家企业的理想掌握权,商业邦畿触及游戏、科技、文明等范围。投资疑息表示,米哈游已参加海内多家企业融资,被投资圆包含Soul App、Unity中国、东圆空间、MiniMax等,触及AI年夜模型、XR芯片研收、运载水箭研收、智能寒暄、游戏开拓等范围。

此外,该公司已申请注册并注销旗下多款游戏产品商标及著做权,包含“本神”“崩坏教园”“不决事变簿”等,其中大都商标已完成注册。

U858s4s5toT8JFEp.jpg

mHLiIoa0ghgKLr99.jpg

x6gl9G69t5icJonZ.jpg

1、本网站属于个人的非赢利性网站,转载的文章遵循原作者的版权声明,如果原文没有版权声明,按照目前互联网开放的原则,我们将在不通知作者的情况下,转载文章;如果原文明确注明“禁止转载”,我们一定不会转载。如果我们转载的文章不符合作者的版权声明或者作者不想让我们转载您的文章的话,请您发送邮箱:Cdnjson@163.com提供相关证明,我们将积极配合您!
2、本网站转载文章仅为传播更多信息之目的,凡在本网站出现的信息,均仅供参考。本网站将尽力确保所提供信息的准确性及可靠性,但不保证信息的正确性和完整性,且不对因信息的不正确或遗漏导致的任何损失或损害承担责任。
3、任何透过本网站网页而链接及得到的资讯、产品及服务,本网站概不负责,亦不负任何法律责任。
4、本网站所刊发、转载的文章,其版权均归原作者所有,如其他媒体、网站或个人从本网下载使用,请在转载有关文章时务必尊重该文章的著作权,保留本网注明的“稿件来源”,并自负版权等法律责任。
回复 关闭延时

使用道具 举报

 
您需要登录后才可以回帖 登录 | 立即注册

本版积分规则